快手电商开展珠宝/玉石类目闪电购专项治理
2022-08-18 16:03
为保护消费者合法权益,提供更加优质的交易体验,打造良好的消费者信任环境,平台决定开展“珠宝/玉石类目闪电购专项治理“,具体内容如下:
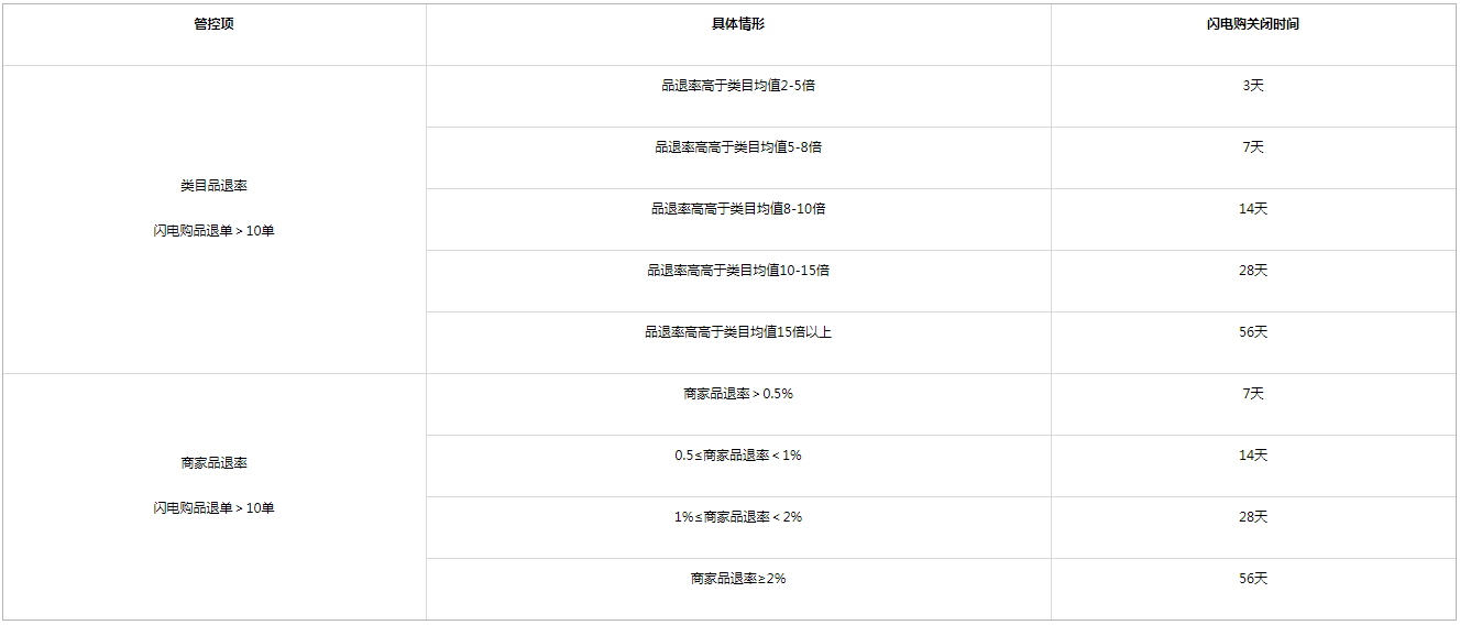
快手电商将于X月XX日起,对经营珠宝/玉石类目、近期多次出现违规行为,或品退率较高导致平台用户体验感差的商户依据《快手小店闪电购管理规则》予以处置,对部分违规情节严重的商户,平台将暂停其闪电购功能1-56日。

专项治理预计持续至2022年10月31日。快手商家请注意!
-
Ao沐沐电商
6715人在用最安全S资源,100%真实手工补单,提升店铺商品人气权重,安全稳定不降权!
-
礼品网-0.7元发全国
29097人在用低至0.7元发全国,真实物流,真实礼品,真实派送,提供底单,假一罚十,超时包赔,客服在线,全年无休!
-
柚子花
39898人在用【安全补单资源】100%真实人工补单,支持多渠道进店,提升店铺商品人气权重,安全稳定不降权!
-
人气魔方
44502人在用100%真实购物花呗大号,7天打造爆款,安全高效不降权!
-
数据宝盒
35585人在用【实力平台推荐】20W真实买家资源,多渠道爆款计划。
-
壁虎看看
24421人在用快手短视频直播电商数据分析工具,多维度为商家提供直播达⼈带货数据及带货能力评估。
-
妙手ERP
4232人在用免费跨境电商ERP软件,支持Shopee、Lazada、TikTok等平台运营
-
熊猫岛礼品代发
30059人在用熊猫岛礼品代发平台,礼品件0.8元发全国,24小时实时物流监控保障所有快件的效率性时效性稳定性,网点充单一单一号真实包裹发货。批量下单,一键发货,每张快递单都真实打印发往全国,千万商家的共同选择。

