视频号发布橱窗商家、橱窗达人清退管理规则,11月17日生效
2022-11-10 12:17
日前,微信视频号发布了《视频号橱窗商家、视频号橱窗达人清退管理规则》,并将于2022年11月17日。
视频号表示,近期,平台在回查视频号橱窗商家、视频号橱窗达人中发现,部分视频号橱窗商家、视频号橱窗达人在经营过程中存在违规行为,影响平台生态健康。
规则适用于所有视频号橱窗商家、视频号橱窗达人、视频号橱窗关联主体(又称“你”)。平台将根据相关规定对违规视频号橱窗商家、视频号橱窗达人以及关联的主体账号进行以下处置。

根据规则,若你有一项多次或多项售后指标超过视频号橱窗店铺售后指标要求的,和/或经综合判断可能对用户体验或平台生态造成不良影响的,将对你的视频号橱窗功能进行限制直至清退,包括但不限于以下情形 :
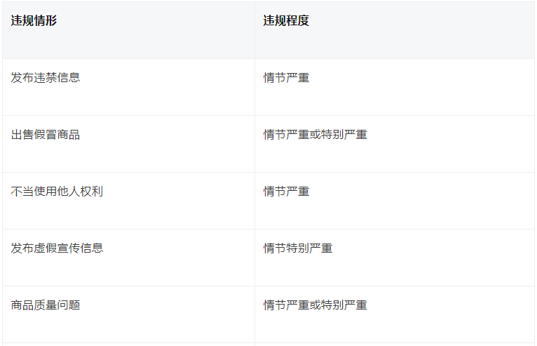
视频号橱窗商家、视频号橱窗达人严重违反平台规则,将对该主体进行清退,包括但不限于以下情形 :
如该严重违规的视频号橱窗商家和视频号橱窗达人,存在关联视频号橱窗达人拥有定向准入资质,则该关联视频号橱窗达人相对应的资质也将一并移除。对于严重违规的商家,可根据违规程度对其关联主体下其他商家一并处罚。


-
Ao沐沐电商
6767人在用最安全S资源,100%真实手工补单,提升店铺商品人气权重,安全稳定不降权!
-
礼品网-0.7元发全国
29120人在用低至0.7元发全国,真实物流,真实礼品,真实派送,提供底单,假一罚十,超时包赔,客服在线,全年无休!
-
柚子花
39994人在用【安全补单资源】100%真实人工补单,支持多渠道进店,提升店铺商品人气权重,安全稳定不降权!
-
人气魔方
44619人在用100%真实购物花呗大号,7天打造爆款,安全高效不降权!
-
数据宝盒
35605人在用【实力平台推荐】20W真实买家资源,多渠道爆款计划。
-
壁虎看看
24442人在用快手短视频直播电商数据分析工具,多维度为商家提供直播达⼈带货数据及带货能力评估。
-
妙手ERP
4240人在用免费跨境电商ERP软件,支持Shopee、Lazada、TikTok等平台运营
-
熊猫岛礼品代发
30070人在用熊猫岛礼品代发平台,礼品件0.8元发全国,24小时实时物流监控保障所有快件的效率性时效性稳定性,网点充单一单一号真实包裹发货。批量下单,一键发货,每张快递单都真实打印发往全国,千万商家的共同选择。

